Dva zesilovače na repro
Pravidla fóra
Dva zesilovače na repro
Nevím, myslím že jsem tady už podobnou otázku četl ale nejsem si jist (téma jsem nenašel). Chtěl bych vědět zda můžu zapojit dva zesilovače na jedno repro. Mám doma LaneyCub 12R a MicroTerror od Orange a jestli je můžu zapojit na repro v kombu Laney, hrát současně samozřejmě nemyslím, buď na jedno nebo na druhé ale když budu hrát na Microterrora aby se se zesilovačem Laney něco nestalo a naopak (myšleno že jsou oba zapojené zaráz na repro)
◘Laney CUB 12R ◘Telecaster ◘Vox Satchurator ◘Boss CE3 ◘Ditto Looper
Re: Dva zesilovače na repro
Zdar, jelikož se jedná o poměrně malé výkony, pomůžeš si nejlépe nějakým přepínačem. Vyhoví asi jakýkoliv DPDT přepínač, v nouzi i páčkový v lepším případě nožní.
Něco jako tohle: http://www.s-hobby.cz/elektronika/_3948 ... polovy.htm
Zapojení si ovšem vyhledej už sám
.
Něco jako tohle: http://www.s-hobby.cz/elektronika/_3948 ... polovy.htm
Zapojení si ovšem vyhledej už sám
S opravami jsem skončil, žádné další zakázky už nepřijímám. Když budete mít jakýkoliv smysluplný technický dotaz týkající se elektronek, zesilovačů a "krabiček", klidně mě kontaktujte e-mailem: z.hronek@protonmail.com Když budu znát odpověď, budu mít čas a chuť, rád Vám odpovím. Děkuji.
Re: Dva zesilovače na repro
Nevím, jestli je dobrý nápad riskovat celolampu bez zátěže.
Re: Dva zesilovače na repro
A proč by měl hrát bez zátěže? Vždyť píše, že chce jen zapojit výstup Orange Micro Terror na reproduktor v kombu Laney Cub 12R. Asi mu vyhovuje lépe repro z Laney než z Orange. Hrát bude vždy na jeden zesilovač. Při provozu Orange přes repro Laney, nemusí být Laney vůbec zapnutý.
S opravami jsem skončil, žádné další zakázky už nepřijímám. Když budete mít jakýkoliv smysluplný technický dotaz týkající se elektronek, zesilovačů a "krabiček", klidně mě kontaktujte e-mailem: z.hronek@protonmail.com Když budu znát odpověď, budu mít čas a chuť, rád Vám odpovím. Děkuji.
Re: Dva zesilovače na repro
Orange je jen zesák a ano hrát pouze na jeden, jenom se ptám když bude zároveň zapojený i Laney aby mu to "po drátkách" nějak neublížilo 
◘Laney CUB 12R ◘Telecaster ◘Vox Satchurator ◘Boss CE3 ◘Ditto Looper
Re: Dva zesilovače na repro
Zdar, no tak snad budeš ten repro přepínat, kdybys to připojil paralelně bez přepínání, s velkou pravděpodobností blížící se jistotě by to ani jednomu z aparátků neublížilo, ale proč pouštět signál, který má jít do reproduktoru navíc do sekundáru výstupního trafa Laneye. Negativně by to asi ovlivnilo zvuk nebo aspoň zbytečně navíc zatěžovalo Orange. Doporučuji jednoduše přepínat repro z Laneye mezi výstupy Laney/Orange. Vždyť je to nejjednodušší použití přepínače DPDT
.
S opravami jsem skončil, žádné další zakázky už nepřijímám. Když budete mít jakýkoliv smysluplný technický dotaz týkající se elektronek, zesilovačů a "krabiček", klidně mě kontaktujte e-mailem: z.hronek@protonmail.com Když budu znát odpověď, budu mít čas a chuť, rád Vám odpovím. Děkuji.
Re: Dva zesilovače na repro
Když si tam dáš přepínač, tak se kdykoliv můžeš seknout, zapnout lampu a zapomenout přepnout. Takže ano riskuješ lampu bez zátěže, nikdo není neomylný a za blbost se platí.
TG si je skoro jistý, že je to paralelní zapojení bezpečné. Asi zná impedanci sekundáru té lampy. Já ji ale neznám a vím, že stejnosměrný odpor je skoro nula, takže bych se asi trochu bál, že výsledná impedance bude příliš malá a tranzistorový konec naplno může shořet. Ale v tomhle se můžu plést.
Buď kup druhý reprák nebo používej ten z komba, ale lampu odpoj s tím, že ji i vytáhneš ze zásuvky a nebudeš ji vůbec používat. Přepínáním vžycky riskuješ.
TG si je skoro jistý, že je to paralelní zapojení bezpečné. Asi zná impedanci sekundáru té lampy. Já ji ale neznám a vím, že stejnosměrný odpor je skoro nula, takže bych se asi trochu bál, že výsledná impedance bude příliš malá a tranzistorový konec naplno může shořet. Ale v tomhle se můžu plést.
Buď kup druhý reprák nebo používej ten z komba, ale lampu odpoj s tím, že ji i vytáhneš ze zásuvky a nebudeš ji vůbec používat. Přepínáním vžycky riskuješ.
Re: Dva zesilovače na repro
Zdar, tak dobrá, pro sklerotiky, kteří během přepínání zapomenou co vlastně chtěli udělat, je tady ještě řešení použít u Laneye reproduktorovou jackovou zásuvku (samici) s rozpínacím kontaktem, který při zasunutí jacku výstupu z Orange odpojí výstup z Laneye. Nevím budu-li pochopen správně, ale nic s tím nenadělám
. Nic není 100% a na něco se pamatovat musí, jinak platí, že za blbost (ale třeba i jen nepozornost, zapomnětlivost apod.) se platí. Prakticky to lze zabezpečit několika způsoby, ale od toho je snad Google, aby si to zájemce vyhledal.
S opravami jsem skončil, žádné další zakázky už nepřijímám. Když budete mít jakýkoliv smysluplný technický dotaz týkající se elektronek, zesilovačů a "krabiček", klidně mě kontaktujte e-mailem: z.hronek@protonmail.com Když budu znát odpověď, budu mít čas a chuť, rád Vám odpovím. Děkuji.
Re: Dva zesilovače na repro
Moc se omlouvám a doufám, že mne tu nesežerete za živa, ale snažil jsem se najít kontakt na Tebe Tube Guru, neb potřebuji opravit a přelampovat Bugeru 333XL - 212 a LANEY CUB 12R a nikde ho nemůžu najít.
Jsem z Horních Bludovic u Havířova, mobil 603 944 125. Jestli mi můžeš pomoct, tak Tě prosím o Tvůj kontakt. Všem se moc omlouvám a Tobě děkuju. Ivan
Jsem z Horních Bludovic u Havířova, mobil 603 944 125. Jestli mi můžeš pomoct, tak Tě prosím o Tvůj kontakt. Všem se moc omlouvám a Tobě děkuju. Ivan
Re: Dva zesilovače na repro
Zdar, můj kontakt je tady: http://hudebnibazar.cz/vsechny-kategori ... 15&o=datum
Napiš však raději na e-mail: tubeguru@seznam.cz
a pokus se co nejpodrobněji popsat závady a co všechno chceš udělat. Samozřejmě se budu snažit Tvoje požadavky uspokojit.
Napiš však raději na e-mail: tubeguru@seznam.cz
a pokus se co nejpodrobněji popsat závady a co všechno chceš udělat. Samozřejmě se budu snažit Tvoje požadavky uspokojit.
S opravami jsem skončil, žádné další zakázky už nepřijímám. Když budete mít jakýkoliv smysluplný technický dotaz týkající se elektronek, zesilovačů a "krabiček", klidně mě kontaktujte e-mailem: z.hronek@protonmail.com Když budu znát odpověď, budu mít čas a chuť, rád Vám odpovím. Děkuji.
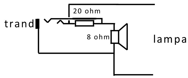
Re: Dva zesilovače na repro
Tohle nic neřeší. Stejně tu lampu nesmíš zapnout. Pokud to chceš udělat jednou a nechat tak, je jedno jak to zapojíš, ale pokud to chceš pořád přehazovat, musí to být blbovzdorné. Zapojil bych ten jack takhle:Tube Guru píše:při zasunutí jacku výstupu z Orange odpojí výstup z Laneye.
Re: Dva zesilovače na repro
Nějakou dobu jsem takhle hrál, 2 zesíky do 1 bedny. Nic špatného se nedělo. Když jsem nechal zapojené oba zesíky (jeden vypnutý), zvuk byl dost odlišný, indukce mrtvého výstupáku v obvodu funguje jako jakýsi filtr.